
Velomobildesign
-
Dreiradbau-Technik
Hier werden die Grundlagen der Liege-Dreirad-Technik beschrieben. Das ist nicht auf meinem Mist gewachsen, der Vollständigkeit halber fasse ich hier aber das wichtigste zusammen.
Tadpole vs. Delta Design
Es gibt zwei Arten von Dreirädern: Das mit zwei Rädern vorne und einem Rad hinten, das sog. Tadpole-Design. Und das mit zwei Rädern hinten und einem vorne, Delta- oder Frog-Design genannt.
Die Konstruktion eines Delta-Trikes bedarf keiner besonderen Kenntnisse, die Lenkung funktioniert genauso wie beim Zweirad. Daher sollen hier nur die Besonderheiten des Tadpole-Trikes betrachtet werden.
Die Lenkgeometrie ist der einer Autos sehr ähnlich. Von hinterradgelekten Trikes will ich hier mal absehen, das ist ein wenig erfolgreiches Konzept für Alltagsvelomobile.
Grundlagen des Dreirad-Rahmen-Designs
Jede Dreiradkonstruktion ist immer ein Kompromiss aus möglichen erreichbaren Eigenschaften. Viele Faktoren, die sich gegenseitig beeinflussen, bestimmen das Fahrverhalten.
Gewichtsverteilung
Die Gewichtsverteilung auf Vorder- und Hinterräder hat einen grossen Einfluss auf das Fahrverhalten. Je mehr Gewichtsanteil auf den Vorderrädern lastet, desto stabiler ist das Kurvenverhalten. Zu viel ist aber auch nicht gut, dann bleibt nicht genug Last auf dem Hinterrad. Es kann dann durchrutschen oder in Kurven wegrutschen. Bei meinem Swift bin ich da schon ziemlich an die Grenze gegangen. Hier ist die Kurvenstabilität trotz der schmalen Spurbreite ausgezeichnet. Bei zu wenig Gewicht auf dem Hinterrad kann das Trike auch vorne über kippen beim Bremsen. Zu viel führt zu einer erhöhten Kippanfälligkeit. Optimal dürfte 70% Gewicht auf den Vorderrädern und 30% auf dem Hinterrad sein.
Schwerpunkt
Einen weit höheren Einfluss auf die Kurvenstabilität hat die Schwerpunkthöhe. dabei ist der Schwerpunkt des Fahrers als grösstes Gewicht ausschlaggebend. Beim Fahrer liegt der Schwerpunkt immer ungefähr in Bauchnabelhöhe. Wenn die Spurbreite nun doppelt so breit ist wie die Höhe des Bauchnabels über der Strasse erhält man ein sehr kippstabiles Trike.
Spurbreite
Damit kommen wir zur Spurbreite. Das ist der Abstand der beiden Vorderräder zueinander. Für die Kippstabilität: Je breiter desto besser. Es gibt auch kein Gesetz, das die Maximalbreite von Dreirädern vorschreibt, auch wenn das immer wieder gerne behauptet wird. (Es gibt lediglich ein Gesetz, dass die Gesamtbreite eines Motorrad-Anhängers maximal 1 Meter sein darf, das gilt witzigerweise nicht einmal für Fahrradanhänger - eine Gesetzeslücke, also keine schlafenden Hunde wecken...)
Die Spurbreite sollte aber auch nicht zu gross gewählt werden, damit sie noch Radwegkompatibel ist. Radwege müssen zwar im Zweifelsfalle mit einem Trike nicht benutzt werde, bevor ich aber in einem Autostau steckenbleibe...
Also sind Spurbreiten von 1 Meter bis hinab zu 75cm ganz gute Grössen.
Radstand
Der Radstand ist der Abstand zwischen den Vorderrädern und dem Hinterrad. Dieser beeinflusst die Lenkung, das Gewicht und den Komfort. Ein kurzer Radstand bedingt enge Kurvenradien und damit eine grosse Wendigkeit. Es schaukelt aber auf welligem Untergrund auch ganz schön. Bei meinem Swift bin ich da an die untere Grenze von ca. 84cm gegangen. Zur erhöhten Wendigkeit kommt noch eine bessere Kippstabilität und eine spritzigere Lenkbarkeit hinzu.
Andererseits fährt ein Trike mit grossem Radstand viel ruhiger. Ein gutes Mittelmass muss also her, 90-110cm sind sinnvolle Masse.
Rahmen-Design
Ein Trikerahmen muss leicht und steif sein. Hat man eine Rahmen so gebaut, dass er steif ist, so wird er in aller Regel auch stabil sein. Auch an Dauerhaltbarkeit, Bauaufwand, Ergonomie und Komfort muss gedacht werden.
Ein Wort zum Rahmengewicht: Beim Swift macht der Rahmen ca. 10 kg des Gesamtgewichtes von 25kg (ohne Verkleidung) aus, also 15kg für Fahrradteile. Das sollte man nicht unterschätzen!
Sehr gut sind 3-dimensionale Rahmen, etwas Gitterrohrahmen. Hier lassen sich viele Funktionen auch für eine Verkleidung schon integrieren. Der Konstruktions- und Bauaufwand ist aber sehr gross. Viel einfacher sind Rahmen aus dicken Rohren, etwa 60x1er Stahlrohre.
Lenkungsgeometrie des Tadpole-Designs
Ein Dreiradrahmen ist nur so gut wie seine Lenkungsgeometrie. Diese ist der eines Autos sehr ähnlich. Dabei gibt es viele verschiedene Konstruktionsweisen, die im Nachfolgenden dargestellt werden sollen.
Steuerkopfwinkel
Der Steuerkopfwinkel ist der Winkel zwischen der Lenkachse und der Strasse, siehe Zeichnung:

Die Lenkachse zeigt vor den Radaufstandspunkt, das ergibt den Nachlauf. Dieser zwingt das Rad, unter Last immer nach innen zu lenken. Dadurch wird die Lenkung immer in Geradeausstellung zurückgeführt, da sich die Kräfte von beiden Vorderrädern aufheben.
Sturz
Wenn beide Räder von hinten betrachtet genau senkrecht zur Strasse stehen ist der Sturz neutral, ansonsten positiv oder negativ:

Ein neutraler oder negativer Sturz ist günstig.
Vorspur
Beim Auto stehen die Vorderräder in Geradeausstellung vorne etwas näher zueinander als hinten. Dadurch läuft es besser geradeaus. Das führt aber zu erhöhten Rollwiderständen. Beim Liegetrike können wir das nicht gebrauchen. Die Vorspur muss unbedingt = 0 sein. Genau nachmessen (unter Last!), es kommt auf den Millimeter an!
Ackermann Steuerungs-Kompensation
In einer Kurve muss das kurveninnere Rad stärker einschlagen als das kurvenäussere, es fährt ja auch einen engeren Kurvenradius. Um das zu bewerkstelligen wenden wir die Regeln nach Ackermann an.

Wenn die Verlängerung der Lenkhebel sich in der Achsmitte des Hinterrades treffen, stimmt die Geometrie. Die Lenkhebel werden mit einer Spurstange miteinander verbunden. Diese Verbindungsstellen müssen auf der Verlängerungslinie liegen.
Allerdings kann die Steuerung auch nervös wirken, wenn diese Regel genau eingehalten wird. Um dem zu begegnen können die Verbindungsstellen etwas weiter nach aussen gesetzt werden. Auf keinen Fall dürfen sie weiter nach innen gesetzt werden, dann wäre die Steuerung noch nervöser.
Spreizung

Durch die Spreizung der Lenkachse erreicht man einen kleinen Lenkradius. Das bedeutet, dass die Lenkachse nahe beim Radaufstandspunkt liegt, was die Lenkkräfte verringert. Auch Fahrbahnstösse schlagen weniger in die Lenkung zurück.
Ein Nebeneffekt ist, dass sich das Rad beim Einlenken schräg legt. Dabei legt sich das stark belastete kurvenäussere Rad in die Kurve, was für die Belastung günstig ist.
Anordnung von Lenkachse zu Radachse

Die Anordnung der Radachse im Verhältnis zur Lenkachse hat einen drastischen Einfluss auf die Lenkung. Wenn die Radachse vor der Lenkachse liegt wird der Nachlauf verringert, was die Lenkung unbeherrschbar machen kann. Die Radachse darf auch nicht zu weit hinter der Lenkachse liegen, da sonst Bodenunebenheiten und Bremskräfte zu stark auf die Lenkung zurückschlagen. Gut ist, wenn der Abstand 0-15mm beträgt. Das hängt auch vom Lenkwinkel ab.
Lenkungssysteme
Hier ist eine Auswahl an brauchbaren Lenkungssystemen zusammengestellt. Die einfachste folgt direkt der Ackermann-Geometrie. Dabei wird eine durchgehende Spurstange eingesetzt. So habe ich es beim Swift gemacht.

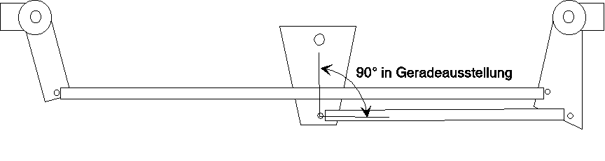
Zu der durchgehenden Spurstange kommt hier noch eine Lenkstange für die zentral angebrachte Lenkung hinzu. Diese Geometrie ist für Obenlenkung günstig.

Ebenfalls für Obenlenkung ist diese Version geeignet, die einfacher umzusetzen ist.

Besonders für Untenlenkung geeignet ist diese Version.

Diese ist komplizierter.

Die gekreuzten Spurstangen findet man sehr oft an Liegedreirädern.
Home|
©1998 - 2002 these webpages are hand-written by Wolfgang Bion, no generator use
my URL is http://www.liegerad-online.de